裝修時想把蹲便改坐便的話,在技術上會遇到很多麻煩,尤其是對于老房衛(wèi)生間的改造。為了將老房蹲便改造為坐便,本實用新型提供了一種適用于預制樓板蹲便改造的坐便結構。


一種適用于預制樓板蹲便改造的坐便結構專利
專利號:ZL202120011216.3登錄國家知識產權局政府網站http://www.sipo.gov.cn/ 即可查詢檢索到本專利相關內容。

背景技術:很多上世紀七十至九十年代間的老房,設計之初為了降低成本及施工方便,多采用預制樓板(預制空心板)結構。這類結構的住宅衛(wèi)生間普遍為非下沉式的普通衛(wèi)生間,這就導致在蹲便改坐便裝修時,因為預制樓板無法開洞的硬性缺陷,只能采用臺面加高或軟管側排、后排的坐便,繼而產生出臺面與衛(wèi)生間高低差導致的磕碰滑倒、軟管使用壽命短導致的滲漏、衛(wèi)生死角難清理導致的藏污納垢等諸多問題。
本實用新型的有益效果是:該預制樓板蹲便改造的坐便結構既達到了蹲便改坐便的目的,又去掉了原始的蹲便臺,還無需對預制樓板開洞,使衛(wèi)生間的地面與外部地坪水平無高差,安全性得到了保障,且坐便四周無衛(wèi)生死角,美觀大方。



圖4正視圖; 圖5左視圖; 圖6俯視圖
一種適用于預制樓板蹲便改造的坐便結構,包括排水主管道3、假墻14和壁掛式坐便15。
排水主管道3的下部設有三通9,壁掛式坐便15內的污水可以依次通過坐便排水管10和三通9后進入排水主管道3。
三通9、坐便排水管10、壁掛式坐便15、支架11、隱藏式水箱12、進水管13和假墻14均位于預制樓板2的上方。假墻14與承重墻1和預制樓板2連接為一體,在安裝該適用于預制樓板蹲便改造的坐便結構時,無需對預制樓板開洞,保證了該適用于預制樓板蹲便改造的坐便結構和預制樓板2的安全。




圖1正視圖; 圖2左視圖; 圖3俯視圖
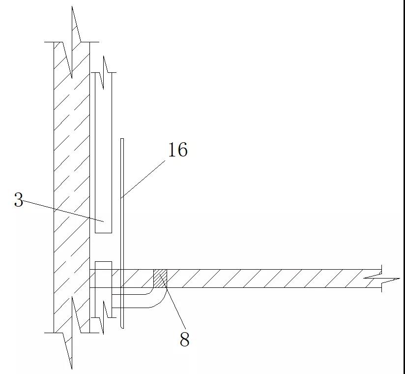
預制樓板衛(wèi)生間的原始蹲便結構包括:承重墻1、預制樓板2、排水主管道3、原始蹲便器4、坎臺5、原始水箱6、輸水管7、原地面排污口8和供水管16。
步驟1:拆除原始蹲便器4、坎臺5、原始水箱6和輸水管7,如下圖所示。

步驟2:封堵原地面排污口8,重新在預制樓板2和承重墻1的表面做防水層,在預制樓板2的地面鋪設地磚,對排水主管道3的下部做斷管處理,供水管16的上部截斷,如下圖所示。

(截斷供水管16時,應保證保留的供水管16能夠全部位于后續(xù)砌筑的假墻14內。)
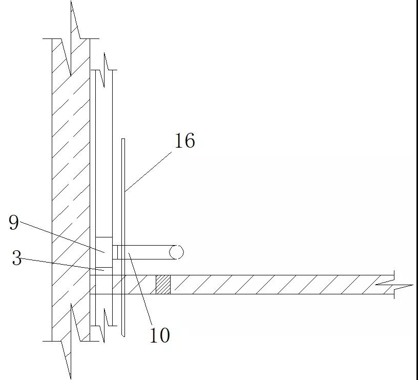
步驟3:在排水主管道3的斷管處安裝三通9,三通9連接坐便排水管10,如下圖所示。

步驟4:將支架11放置于預定位置,支架11與承重墻1及預制樓板2固定牢靠,如下圖所示。

步驟5:隱藏式水箱12與支架11的上橫梁1103連接固定,進水管13與隱藏式水箱12的出水口連接,供水管16的上端通過連接管18與隱藏式水箱12的入水口連接,如下圖所示。

步驟6:砌筑假墻14,壁掛式坐便15與支架11的下橫梁1104連接固定,進水管13與壁掛式坐便15連接,壁掛式坐便15與坐便排水管10連接,如下圖所示。

(假墻14位于支架11的四周。支架11的材質為鋼;假墻14由輕體磚和水泥板砌筑而成,具有防腐、防水、防火、隔音性能高等優(yōu)點。假墻14的墻面磚采用瓷磚粘接劑薄貼施工,降低假墻整體厚度。)

在上述改造施工過程完成后,將形成的適用于預制樓板蹲便改造的坐便結構